TEAC CORPORATION
TAPE 800
|
Device Type |
Internal Tape Drive |
|
Interface |
Floppy |
|
Format |
TRAVAN TR-1 |
|
Sustained Transfer Rate |
500KBPS, 1MBPS |
|
Size |
3.5 in. quarter height |
|
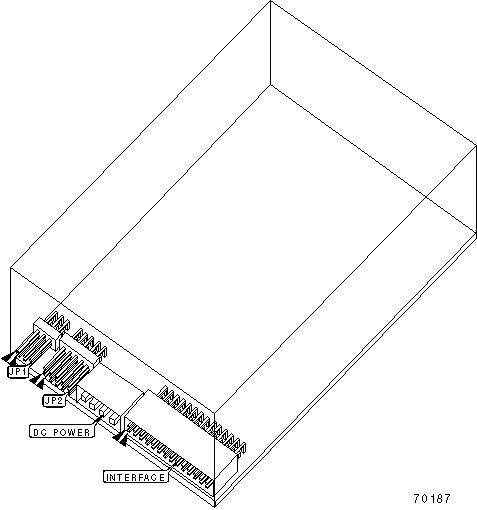
View |
Top |
|
USER CONFIGURABLE SETTINGS | |||
|
Setting |
Label |
Position | |
| » |
Factory configured - do not alter |
JP1 |
Unidentified |
| » |
Factory configured - do not alter |
JP2 |
Unidentified |
|
MANUFACTURERS RECOMMENDED MEDIA | |
|
Tape |
Capacity with Compression |
|
TRAVAN TR-1 |
800MB |
|
QW-5122 F |
420MB |
|
DC-2120 XL |
340MB |
|
DIAGNOSTIC LED(S) | |||
|
LED |
Color |
Status |
Condition |
|
LED1 |
Unidentified |
On |
Tape is busy |
|
LED1 |
Unidentified |
Off |
Tape is not in use |